
關注電力行業最新資訊,掌握一手資源

關注電力行業最新資訊,掌握一手資源


?智能電能表上那個不起眼的十字坐標,如同企業用電的“心電圖”。橫軸代表有功功率(P),左負右正;縱軸代表無功功率(Q),上正下負。兩條軸線交匯,將用電世界精準劃分為四個象限。每個象限的數字跳動,都在講述企業設備運行的不同故事。


在電力系統設計中,無功補償柜的安裝位置是一個關鍵決策,它直接影響成本、運行可靠性甚至設備壽命。常見有兩種安裝方式:靠近變壓器首端安裝,或是遠離變壓器的末端安裝。本文將用數據和對比,告訴你為什么末端安裝是絕大多數情況下的最優選擇。

每當提到電容補償柜,很多從事電力相關工作的朋友都會疑惑:它補償的究竟是電流,還是電壓?在學校學的基礎知識可能已經模糊,這確實是個值得厘清的問題。 嚴格來說,電容補償柜主要補償的是無功功率。更具體地說,它是通過改變電流與電壓之間的相位角來實現功率因數校正,本質上是在調節無功電流的流向。下面我們從幾個角度來拆解這個問題。

充電樁
光伏“搗亂”,無功補償設備為何懵圈?小心力調電費找上門!
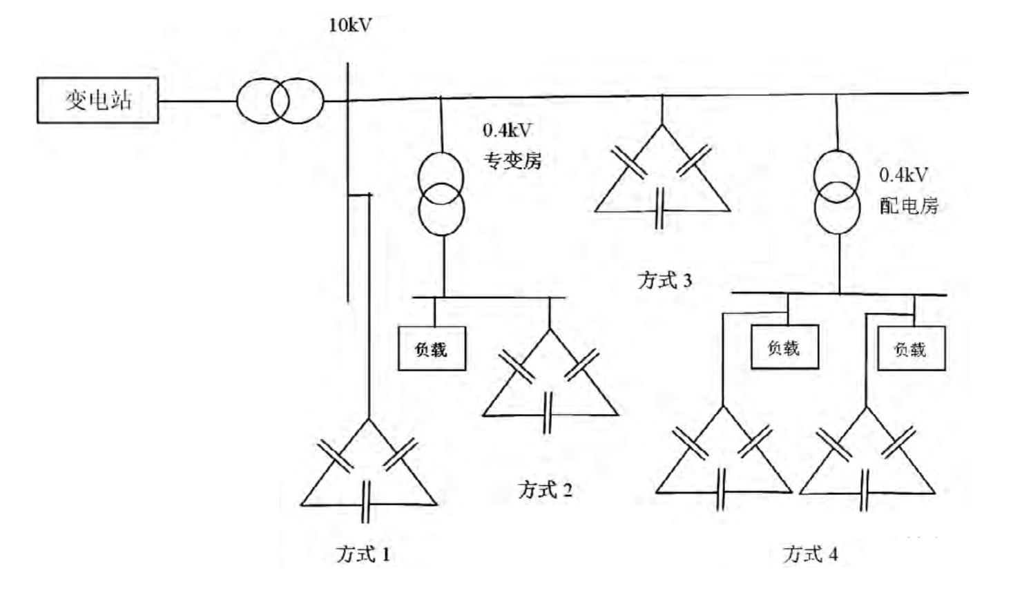
光伏并網,選對接入點是保障系統安全、高效運行和避免電費損失的關鍵一步。看似簡單的“并網點”位置選擇,背后竟藏著這么多容易被忽視的顧慮!今天,我們就來一一拆解。
隨著分布式光伏大規模并網,"自發自用余電上網"模式下的功率因數超標問題已成為工商業用戶的核心痛點!本文整理行業6大實戰解決方案,一文講透技術原理與選型策略
在低壓無功補償領域,合理配置電容補償柜對于提升電能質量、降低線損具有至關重要的作用
在電力系統中,無功補償裝置扮演著至關重要的角色。它能夠提高電力系統的功率因數,降低線路損耗,穩定電壓
在電力系統中,無功補償是提高電能質量、降低線損、提升系統穩定性的關鍵環節。作為無功補償

電話:400-803-3226
商務:15926374356
技術支持:15618019386
時間:9:00-19:00
